近日,北京高沃律师事务所张敏律师、赵晓琳律师代理湖北A公司针对四川B公司持有的“催化法烟气脱硫装置及催化法烟气脱硫塔”实用新型专利(以下简称“涉案专利”)提起无效宣告请求。接受委托后,我所律师围绕涉案专利展开深入分析,系统检索全球范围内的现有技术文献,并对关键证据进行提炼与整合。经过周密准备,我所律师向国家知识产权局提交了无效宣告请求,最终一击制胜,成功宣告涉案专利全部权利要求无效,有力维护了当事人的合法权益。
涉案专利技术解读
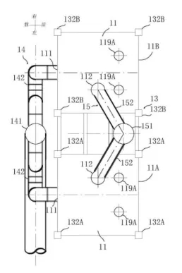
涉案专利权利要求1涉及一种催化法烟气脱硫装置,其结构主要包括烟气布气层、催化剂放置层和烟气溢出层。脱硫时,烟气从进气口进入脱硫反应器,然后通过催化剂脱硫后再从排气口排出,烟气中的二氧化硫在通过催化剂时在催化剂上反应形成硫酸,对催化剂进行洗涤再生时硫酸进入喷淋在催化剂上的再生液后从排液口排出。涉案专利同时限定了该脱硫装置上具有第一、第二、第三可开闭操作口及其设置方式,以及第一可开闭操作口和第二可开闭操作口之间的相对位置关系、第二可开闭操作口和进气口之间的相对位置关系。涉案专利提供的催化法烟气脱硫装置如下图所示:

争议焦点和办案难点
案件争议的焦点集中于可开闭操作口及其设置方式。对此,我所律师结合检索的现有技术证据,系统论证了涉案专利不具备创造性。
结语
此次无效宣告案件的成功,不仅彰显了高沃律师团队在专利确权与争议解决领域的专业实力,更体现了高沃知识产权“全心全意为客户创造价值”的服务宗旨。未来,高沃将持续深耕知识产权法律服务,以专业力量为企业发展保驾护航,助力企业在激烈的市场竞争中抢占先机、行稳致远。
律师简介
张敏律师,曾长期从事专利申请文件的撰写、审查意见的答复、复审请求、复通答复、无效宣告请求、无效宣告答复、复审行政诉讼及无效行政诉讼工作,能为申请人提供科学、合理的专利布局方案,并为医药、机械、电学、医药、材料等多个领域的客户提供合理的知识产权保护建议。
赵晓琳律师,长期专注于知识产权领域,从业近10年,拥有律师和专利代理师执业资格。研究生毕业于南开大学,擅长化学领域和机械领域案件处理。具备丰富的专业知识和工作经验,代理了诸多疑难复杂的知识产权诉讼案件。熟悉专利无效请求及答辩、专利行政诉讼、专利民事诉讼及其他争议解决业务。




首页
电话
简介